1.1 计算机产品的电路结构

1.1.1 台式电脑的电路结构

1.台式电脑的整机结构

(1)台式电脑的基本构成

台式电脑又称为个人计算机,主要功能是接收数据信息和处理数据,经处理后可以形成新的数据,同时可以将生成的数据输出或存储。台式电脑的性能通常是指运算(处理)速度、存储数据的容量及可能性。市场上流行的计算机拥有各种配置以满足不同客户的需要。例如,对于图像的编辑、处理和存储需要大容量存储系统,对游戏爱好者则需要高性能图形卡系统。

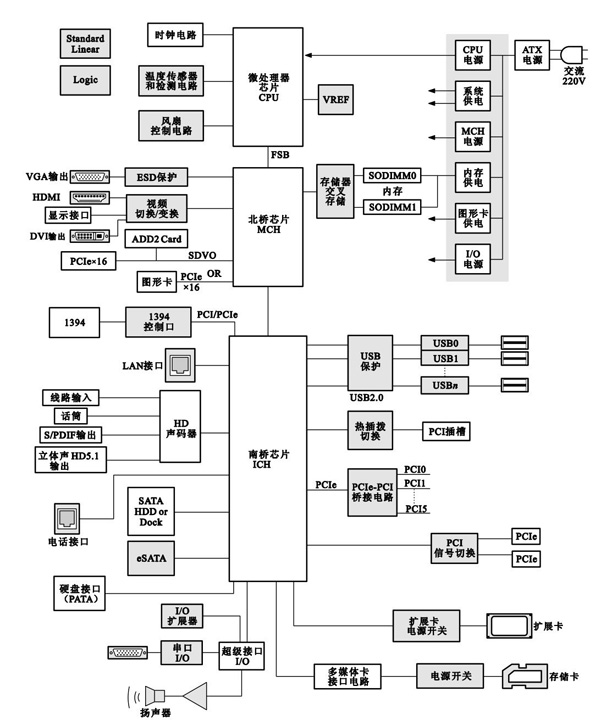
图1-1所示是台式电脑的整机电路结构方框图,其中主要电路器件是安装在主板上的。从图可见,计算机主要是由CPU(微处理器芯片)、芯片组(南桥芯片和北桥芯片)、显示器接口电路、内存电路、输入/输出接口电路及电源供电电路等部分构成的。

图1-1 台式电脑的整机电路结构方框图

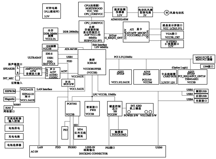
(2)台式电脑主板的电路结构

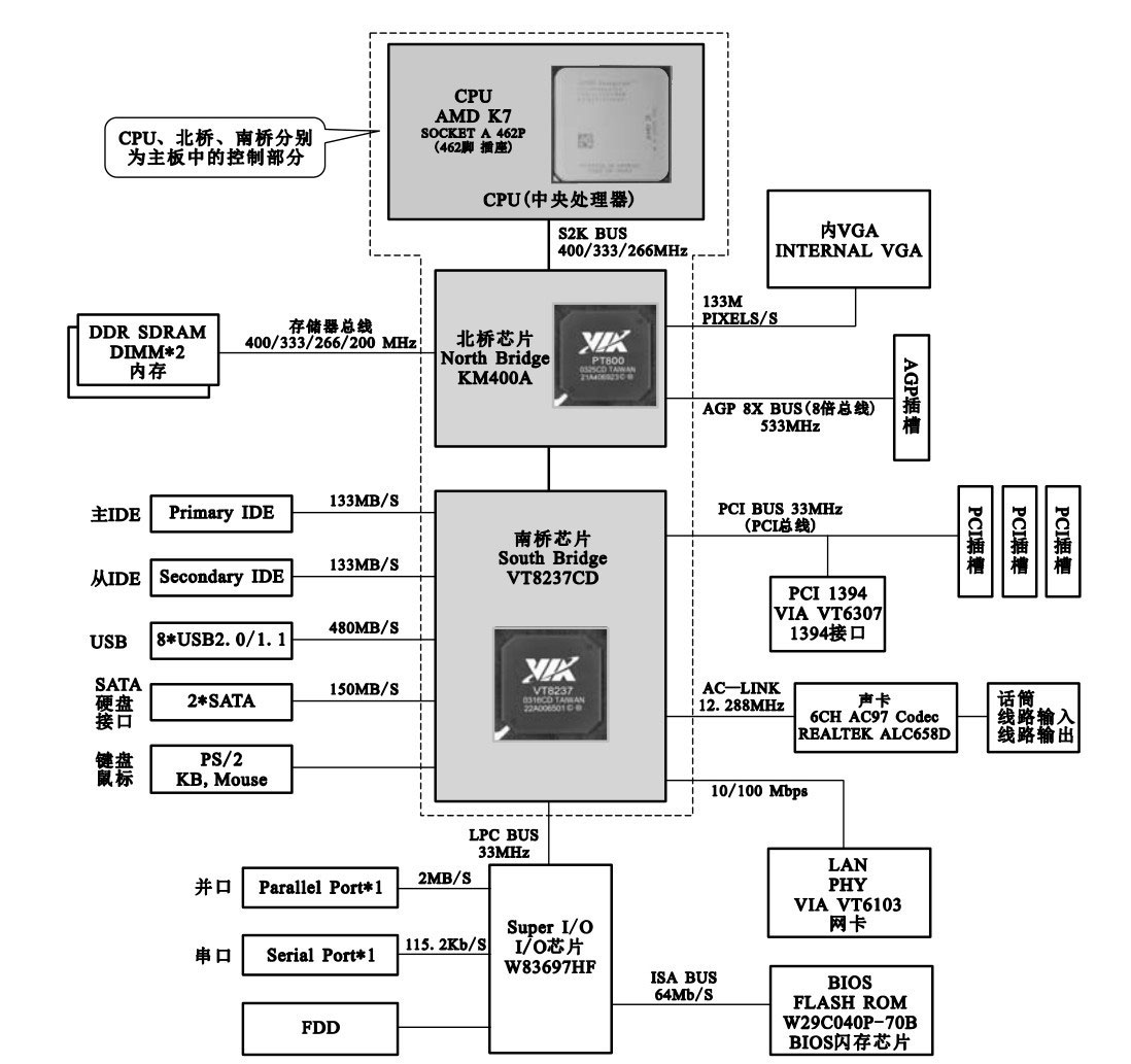
图1-2所示是华硕A7V8X—LA型主板的整机电路信号流程图。

图1-2 华硕A7V8X—LA型主板的整机电路信号流程图

由图1-2所示可知,在华硕A7V8X—LA型主板中,CPU作为总控制核心,经北桥芯片实现对内存、AGP插槽等进行控制和数据传输;CPU的指令和数据经北桥芯片后,再经南桥芯片实现对IDE接口、USB接口、鼠标键盘接口、SATA接口、PCI插槽、音频接口及声卡、网卡接口及网卡等电路的控制和数据传输;南桥芯片又经I/O芯片后实现对并口、串口、BIOS闪存芯片的控制和数据传输。

CPU作为主板上的重要核心部件,是通过总线与芯片组、内存、存储控制器、接口电路和一些扩展插槽进行连接的。如果把CPU比做人的大脑,那么总线就相当于人的筋脉。

计算机主板上的总线分为控制总线、地址总线和数据总线三种,主板上所有的插槽芯片、输入/输出接口电路都是靠这些总线与CPU之间进行连接。

2.台式电脑主板中各单元电路之间的关系

图1-3所示为华硕PTGD2—LA型台式电脑主板中各单元电路之间的信号流程图。

图1-3 华硕PTGD2—LA型台式电脑主板中各单元电路之间的信号流程图

● 开机电路是人工启动电脑时的电路,主要是通过开机键来实现电脑的开机启动和关机控制,也就是控制ATX电源启动的过程(输出各种工作电压),满足电脑中各部件及元件的供电条件。整个计算机是以CPU和芯片组为核心的自动控制和运行的系统。

● 电脑主板上的很多电路单元都需要时钟信号,而且其频率各不相同,时钟电路是为电脑各个部分提供时钟信号的电路。

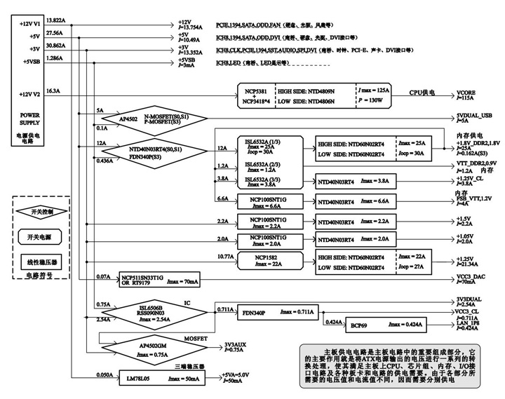
● 供电电路则是将ATX电源输出的电压直接或间接处理后输出更多组直流电压,它是为主板上其他所有电路部分提供工作电压的电路,在主板上有一个精细的供电分配系统。

● 主板上有很多互相关联而又独立的电路单元,它们的工作有着严格的逻辑关系和同步关系。主板的复位系统则是开机时复位信号的整机分配关系。

● 接口电路则完成计算机与其他外部设备进行数据传输的电路部分。

主板中的各个部件之间都不能够独立存在,它们是通过信号进行关联的,从整机信号关系来说,我们可以将整机信号分为三个系统:整机供电系统、整机时钟系统和整机复位系统。

例如,图1-4~图1-6所示分别为Intel965型主板的整机时钟系统、供电系统和复位系统分配图。

图1-4 Intel965型主板的整机时钟系统分配图

图1-5 Intel965 型主板的整机供电系统分配图

图1-6 Intel965型主板的整机复位系统分配图

1.1.2 笔记本电脑的电路结构

1.笔记本电脑的整机构成

(1)笔记本电脑的基本构成

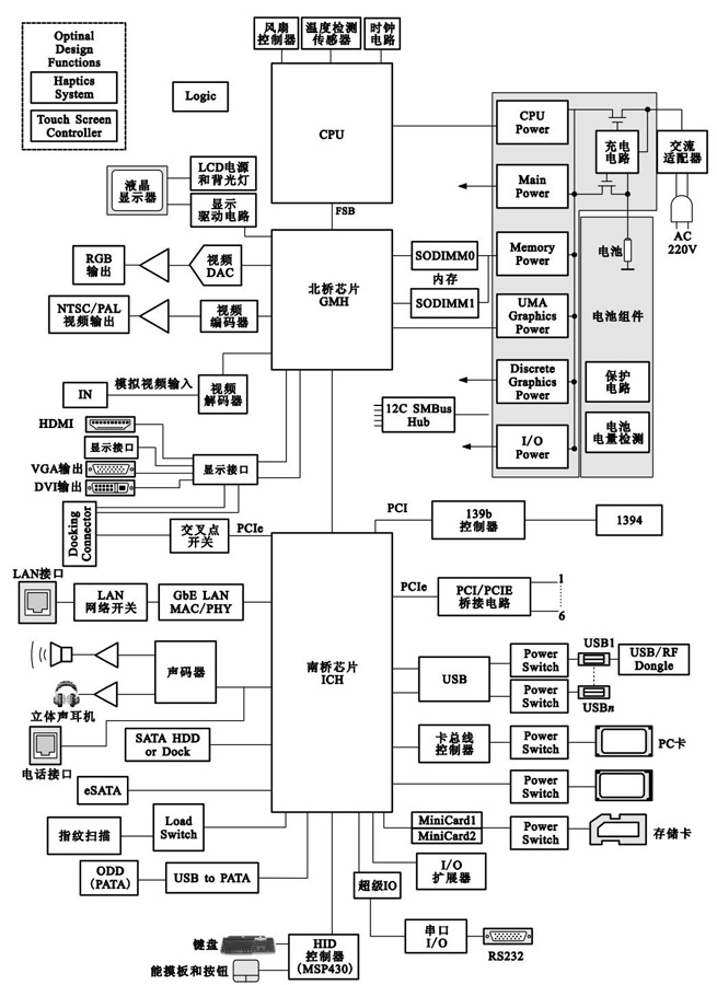
笔记本电脑是一种便携式电脑,它可以使用电池为其供电,其基本结构和功能与台式电脑相同。为了便于携带,很多电路单元都必须实现小型化和低功耗。图1-7所示是笔记本电脑的整机电路结构方框图。从图可见,它主要是由CPU(微处理器芯片)、芯片组(北桥芯片和南桥芯片)、液晶显示器和显示接口电路、内存电路、输入/输出接口电路及电源电路(充电电路)等部分构成的。

图1-7 笔记本电脑的整机电路结构方框图

(2)各单元电路的结构和功能

图1-8所示是典型笔记本电脑各单元电路的信号关联图。

图1-8 笔记本电脑各单元电路的信号关联图

1.1.3 掌上电脑的电路结构

1.掌上电脑的基本结构

掌上电脑即PDA(Personal Digital Assistant),即个人数字助理之意。实际上是一种便携式计算机,它可以运行各种应用程序,方便实用,读书、学习、记事、娱乐等,快捷方便。图1-9所示是它的整机电路结构方框图。从图可见,它的结构同笔记本电脑相比,电路简化了很多。它的核心是一个媒体处理器,通过各种接口与其他设备进行信息互联。

图1-9 掌上电脑的整机电路结构方框图

2.各单元电路的结构和功能

(1)处理器芯片

掌上电脑的处理器芯片是一种嵌入式处理器,它是整个PDA的信息处理和控制核心。处理器的工作是按照应用程序进行的,该程序存储在芯片的外挂存储器中。操作系统存储在非易失性存储器之中,即图中的NOR/NAND闪存或EEPROM。应用程序代码和数据可以加载到SDRAM或SRAM中,处理器芯片具有多种接口,以便于各种外接设备相连接。

(2)用户接口

PDA设有触摸屏和键盘接口电路,用户可通过任一接口为PDA输入人工指令。

(3)音频/视频输出接口

PDA处理器芯片处理后的音频和视频信号可分别经音频、视频输出接口电路输出。PDA处理的数字音频信号经解码器和D/A变换器,还原成模拟音频信号,再经音频放大器去驱动扬声器发声,或通过耳机接口输出。同时外部音频设备或话筒的音频信号也可以送入PDA,经A/D变换和数字编码电路,送入处理器芯片进行处理或存储。

目前流行的音频编码芯片为TLV320AIC3254,它是一种新型的超低功耗立体声编解码芯片(嵌入式MINI DSP电路)。

(4)网络和外设接口

PDA通常都具有USB、存储器接口和无线网络接口(DAN),通过这些接口可与其他电脑等设备连接。在本机上还设有摄像头和图像传感器直接获取图像信息。

此外它还有蓝牙耳机接口、视频输出接口、S视频接口、HDMI高清晰度视频接口,MMC/SD存储卡接口等,给使用带来了很大的方便。

1.1.4 服务器计算机的电路结构

1.服务器计算机的基本结构

服务器计算机是一个计算控制系统,它主要是运行在特定的环境或需要长期运行的系统中,通常极少有人干扰。尽管服务器可以使用商品计算机组件构建而成,但专用服务器必须使用专门的硬件以实现最佳可靠性。服务器中根本不存在图形用户界面(GUI),因此无需安装昂贵的视频适配器和音频接口、游戏手柄连接及通常在笔记本电脑或台式电脑中用到的USB外设。系统中采用了可靠的风扇或是中央空调器来使系统保持冷却。服务器计算机还需要特殊的冗余不间断电源来确保电源故障期间不会出现数据丢失。

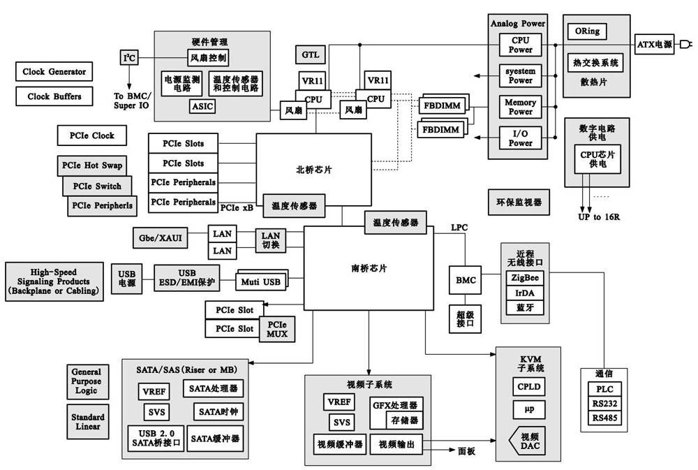
图1-10所示是服务器计算机的电路系统方框图。从图可见,它同普通台式计算机的区别在于它有多个CPU、北桥芯片和内存电路,南桥芯片与普通电脑相同。该机除具有网络接口和USB接口外,还设有近程无线通信接口、KVM(键盘、视频、鼠标)子系统、视频子系统及SATA/SAS接口。

图1-10 服务器计算机的电路系统方框图

2.各单元电路的结构和功能

(1)多个处理器和多核处理器

为了提升服务器计算机的处理能力,在主机中采用多款处理器。随着计算机技术的发展,目前已经能将多个处理器的内核嵌入到单个处理器之中,制成多内核处理器。使服务器能同时执行多串代码,大大增强了系统的处理能力。

对于所有计算系统而言,处理器、存储器中的瓶颈都可能严重降低整体性能。当今处理器具有增强的多内核与多线程性能,能够执行特定的124位指令,从而显著提升性能。由于存储器得到改进,全缓冲DIMM(FBDIMM)降低了延迟,实现了更短的读/写访问时间。高速接口标准(如PCI—Express、HyperTransport、SerialATA、SAS和USB)可以确保信息以足够快的速度进入服务器,以实现服务器的处理功能。

虚拟化是该系统采用的一项新的软件技术,它允许主机服务器的单个操作系统中的硬件同时在同一计算机上运行多个操作系统和多个应用程序,从而提高利用率和灵活性。

(2)电源供电电路

服务器计算机对电源的要求比较高,主要是能长期运算、不间断,而且要考虑电源供电故障发生时确保计算机的数据不丢失。因而在电源设计上从散热方面及硬件方面的可靠性要求都比较高。

(3)无线通信接口

本机的无线通信接口是采用无线方式进行数据交换,ZigBee是一种低功耗近距离通信技术,IrDA是采用红外光传输的通信技术,蓝牙也是近距离通信技术。借助于这种技术,可以将个人电脑等设备的数据进行通信互联。

(4)KVM子系统

KVM子系统是键盘、鼠标和视频的接口,通过该接口传输人工指令和视频。

(5)视频子系统

视频子系统是由图形处理器GFX(含存储器)、视频缓冲器和输出电路等部分构成的。该输出可送给电视监视设备。

(6)SATA/SAS

SATA串行高级技术附件(Serial Advanced Technology Attachment),它是一种基于行业标准的串行硬件驱动器接口。

SAS(Serial Attached SCSI),串行连接SCSI接口,采用串行技术以获得更高的传输速度,并通过缩短连接线改善内部空间。此接口改善了存储系统的效能、可用性和扩充性,提供与串行ATA(SATA)硬盘的兼容性。

1.1.5 嵌入式PC的电路结构

1.嵌入式PC的基本结构

嵌入式PC(Embedded PC)是构建在单个印制电路板(PCB)上的完整计算机,它充分利用了与台式电脑(PC)兼容的构架,同时提供广泛的知识和资源。它与台式机、笔记本电脑的区别在于特定的外形、机械设计及外部接口电路。这种电脑是专用于各种场合的计算机,它的某些功能超强。图1-11所示是它的整机电路结构方框图。

图1-11 嵌入式PC机的整机电路结构方框图

由图可见,它主要是由CPU(单核或双核)电路、芯片组(MEH和ICH)、图形处理单元(GPU)、音频及PCI Eepress、以太网和USB接口等,基本组成与台式机电脑相同。

2.各单元电路的结构和功能

(1)中央处理单元(CPU)

CPU负责处理所有复杂的处理功能(复杂算法、视频编码、图形处理),并且可以直接与芯片组相连。

(2)芯片组

芯片组连接并控制储存器、图形及进出CPU的I/O流量。当今许多EPC中都包含两个芯片:图形与内存控制集线器(GMCH)及I/O控制集线器(ICH)。在较新的EPC平台上,内存控制器被集成到CPU中,除了CPU以外,只有一个有时被称为“系统控制集线器”的控制芯片。

(3)存储器

存储应用软件和数据文件。在大多情况下,SDRAM(1.8V DDR2SDRAM或1.5V DDR3SDRAM)在电路板上使用(需要专用电源转换器),用于实现更短的读/写访问时间,并且有时也会使用闪存。

(4)PCI Express总线

PCIe被设计速度更快的串行接口来分别替换计算机扩展卡和图形卡的PCI/PCI—X和高级图形端口(AGP)接口。PCIe1.x总线以2.5GHz的速度运行,将8b10b编码用于检测错误(10个时钟周期发送一个字节),相当于250Mb/s的数据速率。PCIe 1.x卡与主板之间的连接可以由1至32条线路组成,可使每个方向的传输速率最高达到8Gb/s。PCIe 2.0使每条线路的数据速率翻倍至500Mb/s,它在物理接口和软件中与PCIe 1.x向后兼容,从而使旧版卡也能在具有PCIe 2.0的EPC上工作。PCIe 3.0目前在理论上使数据速率翻倍至1Gb/s,并且也与现有的PCIe实施向后兼容。

(5)以太网

以太网允许EPC连接到LAN以支持网络功能。

(6)USB

通常提供多个USB端口以实现与外部存储设备等各种外设的连接。

(7)电源转换

EPC将输电线供电(AC/DC适配器)或电池电源用做主电源输入。EPC常用的DC电源输入电压有5V、12V、16V、19V,甚至为24V或28V。